Lucien Jean Baptiste LaCoste “On the fender of his canary yellow Packard is mathematician, astronomer and physicist Lucien LaCoste, who not long ago was as good at tennis as he is now at teaching.” 1937 Cactus Yearbook |
Lucien Jean Baptiste LaCoste Jr. was born in San Antonio, Texas, to Lucien Jean Baptiste Sr. and Helen D. Merriam LaCoste on August 25, 1907. His sister Elizabeth Merriam was born November 2, 1910 and died in 1999. His father was born in Matamoros, Mexico, on December 26, 1865, and was involved with real estate. Lucien Sr. died August 21, 1940 in San Antonio, Texas. Helen Merriam was born in West Pittston, Pennsylvania on July 17, 1866, she died in Los Angeles, California, on May 4, 1951.
Lucien Jr. married Dorothy Kramer, May 8, 1940, in Brenham, Texas. Dorothy was born July 4, 1911 in Lockhart, Texas and died July 22, 1998. Her parents were Charles and Zelia Lancaster Kramer. Dorothy attended The University of Texas at Austin. She was one of the campus beauties in 1930. Her photo from the 1930 Cactus is shown at right.
She was buried in Oakwood Cemetery Annex.
Biographies \ Virtual Museum, Society of Exploration Geophysicists, 2/9/2006
Lucien LaCoste
By ROBERT DEAN CLARK
Assistant Editor
Undoubtedly few geophysicists know of Daniel Penick, a man with a solid, if convoluted, claim as being one of exploration's great benefactors. Penick is not included in any scientific references; his name is not appended to any ingenious patents or breakthrough treatises. It is most easily found in yellowing University of Texas yearbooks.
He taught Greek but was better known as the school's highly successful (and unpaid) tennis coach - "the best we had around here in the 1920s," according to Lucien LaCoste who went to Texas for that reason, an innocent act chain-reacting to the present.
LaCoste became intrigued by physics at Texas, leading him to the classroom of Dr. Arnold Romberg where, in solving a routine assignment, he invented the zero-length spring - the reason he later got into the gravity meter business and became, without ever working as a practicing geophysicist, the most innovative figure in gravity instrumentation in the history of gravity exploration.
The zero-length spring is a key element in the famed LaCoste and Romberg land gravity meter (one is on permanent display in the Palais de la Decouverte in Paris) and most modern meters, but it was only the first of LaCoste's ideas which had great exploration impact. His other inventions include underwater meters, shipboard meters (for which he won the second Kauffman Medal awarded by the Society of Exploration Geophysicists), and borehole meters.
The list is so impressive that LaCoste unquestionably ranks with exploration's most fertile minds, arguably one of its few authentic geniuses. More than one professional associate so describes him.
It is a scientific axiom, and the reason that so much emphasis is placed on priority of discovery, that knowledge is going to be uncovered sooner or later. Regarding LaCoste's discoveries, particularly with shipboard gravity, that almost certainly would have occurred considerably later–a circumstance that hits like a whiplash when one realizes his interest in gravity was triggered by pure chance.
The landmark day was in the fall of 1932. (He had graduate in 1931 with a degree in electrical engineering.–Mel Oakes) This was when Romberg gave each student in a mechanics class a different technical problem to solve. LaCoste's was to design a vertical seismograph.
"I managed to reinvent a modification of the vertical (earthquake) seismograph then in general use," he says, "but I thought there must be a better way, so I decided to investigate further." His solution arrived out of the blue a couple of weeks later when he was waiting for a tennis opponent who never showed.
(LaCoste's tennis career has some distinguishing features in its own right. He became infatuated with the game while growing up in his native San Antonio and still plays regularly. In the late 1920s, he lettered three times at Texas, then probably the strongest collegiate team in the country. The National Collegiate Athletic Association did not determine a team champion at that time but did sponsor singles and doubles tournaments. Texas produced the singles winner in 1927 and 1929 and had three doubles champions between 1923 and 1931. Texas's best player in that period was Wilmer Allison who later stood very close to the world's No. 1 ranking. He was US champion in 1935, a Wimbledon finalist in 1930, and winner of many important doubles events. LaCoste once won a set from him, an achievement which, in his heart of hearts, he likely treasures as much as one of his patents.)
In the 1600s, English physicist Robert Hooke established that a spring exerts a force proportional to the length it has been stretched. LaCoste's idea was that a spring whose physical length equaled its stretched length would exert a force proportional to its entire length, not just the stretched length.
His calculations showed a weight correctly suspended from such a spring would theoretically have an infinite natural period of oscillation. This would be ideal for vertical seismographs because they are well adapted to measure only seismic displacements with periods shorter than that of the suspension.
LaCoste called this spring zero-length because its initial length, when there is no stress in the spring, is zero. He approached Romberg with the idea the next morning. They immediately went to the physics lab to see if it would work. LaCoste suggested the spring be made with its coils winding in a spiral in a flat plane.
But Romberg preferred a helical spring whose coils pressed against each other like many common screen door springs. Such springs, though obviously of finite length, do have initial length less than their physical length because there is force between the turns even when the spring is supporting no weight. To attain a zero-length spring, it would be necessary to increase the force between the turns of the unstretched spring.
LaCoste made the first one by reversing the ends of an ordinary spring with his thumbnail. When he finished, he didn't have a zero-length spring; the coils pressed so firmly against each other that he had a negative length spring. That was no problem. It was easily adjusted to zero length by adding pieces of wire at both ends.
After deciding to use that type of spring, the two men needed only a few hours to build a crude seismograph, the first of many instruments they would make together. It did not, of course, have an infinite period because of elastic imperfections in the metal but it did have a longer period than any vertical seismograph that the experienced seismologist Romberg had ever seen. Two days later, they built a more sophisticated version which had a natural period of one minute, an order of magnitude greater than anything else around.
At the time, the seismograph meant nothing more to its inventors than the conclusion of an interesting experiment. It was an elegant solution to a challenging problem. No attempt was made to commercialize it because both assumed the market would absorb only a handful of them, "an error we made," LaCoste says, "by a factor of about a thousand." He didn't even apply for a patent; he was planning an academic, not an Edisonian, career.
LaCoste received his doctorate in physics in 1933 and went on the California Institute of Technology to study quantum mechanics. The move was calculated (since quantum mechanics was then a new field with few qualified instructors) to bring him back to Texas as a member of the faculty. The plan worked perfectly. LaCoste returned to Austin in 1935 and settled into academia.
Meanwhile, however, he had written an article, A New Type Long Period Vertical Seismograph, and sent it to Romberg for review. Romberg made only one change, deleting his name as co-author ("That shows you the kind of man he was," says LaCoste), and forwarded the manuscript to Physics where it was published in July 1934. In a few years, the lives of both men would change completely and permanently because of that paper.
In the latter part of the '30s, gravity meters began to replace the cumbersome torsion balance and pendulum, and gravity exploration became a much more cost-efficient undertaking. The American Seismograph Co., accurately sensing a slowdown in seismic work, decided to branch out into gravity; its founders, brothers Reginald and Elliott Sweet, and J. L. Copeland, were familiar with LaCoste's article and thought the concept could be used to make a gravity meter.
A gravity meter's sensitivity is proportional to the square of its period, the obvious reason the long-period seismograph interested Sweets and Copeland. Gravimeters must be extraordinarily sensitive. Explorationists consider a difference of one milligal to be an interesting anomaly. Since gravity at the earth's surface is around 980 gals or 980,000 milligals, the instrument must, at the least, be able to detect differences of one part in a million to be of exploration use.
This staggering figure caused an early theorist to speculate that gravimeters would have to be at least 40' long to have the required sensitivity. However, a long period can achieve that sensitivity with considerably more modest dimensions. Today, meters are accurate to a few parts in a billion with systems a few inches long.
Copeland, a Texas graduate and a LaCoste classmate, went to the university to inquire further. The chairman of the physics department referred him to Romberg who thought it very promising. LaCoste was brought into the discussion and a deal was reached in which American Seismograph agreed to finance the development of a field worthy gravimeter.
One was built in about a year and successfully demonstrated to Sun Oil Co. However, controversy developed within the partnership soon afterward, and it was dissolved. LaCoste and Romberg made an out-of-court settlement and took leaves of absence from the university, following the spring semester of 1939, to go into business on their own. They were immediately caught in a patent ambush which threatened to suffocate the new company before a single meter was built.
"When we applied for a patent, we found out the article I had published prevented us from getting protection on anything described in it," LaCoste says. "After publication you had two years, since reduced to one, to apply for a patent. Otherwise, you had given your ideas to the public.
"Eventually we did get a patent by adding some features that are not absolutely necessary but these additions made the patent incapable of giving us appreciable protection. Anyone could avoid infringement by omitting any one of them. A friend once told me that 90% of all gravimeters built used a zero-length spring but only 25% were built by us. Years later we got some good patents on other inventions, but that came only after we learned the ropes."
A second lesson in crash course patent law came quickly.
"Our patent attorney," LaCoste recalls, "had made a search and had assured us we were not infringing on anything. Then about a year later, he sent us a letter saying he had overlooked a reissue patent, owned by Humble, which we had clearly infringed upon. Things looked bad.
"So we studied the patent carefully to see whether we could avoid infringement by omitting one of the elements in the claim. We could, if we could make some adjustments to an accuracy of about a 10-millionth of an inch. Our attorney said he thought this would avoid infringement but this was only hypothetical because we hadn't yet done what we suggested. That was enough encouragement. In our second attempt we succeeded."
Standard of California had promised the firm a large order if it could provide assurance that Humble's patent was not being infringed. "However, by this time, our patent attorney had become apprehensive and he refused to say that we did not infringe," LaCoste says. "We were preparing for an immediate return to the classroom when we, in desperation, requested a ruling by the firm's senior patent attorney. He did give a favorable opinion." Shortly afterward the expected order arrived and although they didn't know it at the time, the partners' academic careers were over.
In the new company, LaCoste got first billing from another tennis-related accident. When it was time to file incorporation papers, he suggested a lawyer whose legal skills he knew little of but whom he trusted, "because he called the lines fairly during tennis matches."
The attorney listed the name as LaCoste and Romberg on the paperwork. LaCoste, a generation younger and a protegeé of his partner, was embarrassed and offered to have the names transposed but Romberg declined. At the time, formalities did not seem overly important. Neither of the novice entrepreneurs thought the arrangement would last more than a few years before the market was saturated, and they would be back teaching again.
Romberg was president and LaCoste vice-president. However, the titles were nominal; they shared all duties from the most scientifically complex to the most commercially routine. They were the instrument designers, builders, testers and quality control; the office staff; the sales force; the shipping and receiving department; the maintenance department; trouble shooters; etc.
The only employee was a machinist. The factory was Romberg's basement. The late Neal Smith, a former SEG president, visited the operation shortly after its inception and described the scene in LaCoste's Kauffman Medal citation:
"The two were moving among bits of wire, aluminum slabs, wool batting, nuts, bolts, and occasionally a ping-pong ball, and were turning out a gravity meter about once a week that worked. If you had been in line long enough, you could rent one for a substantial sum. I was enormously impressed by the men, the meter, and the money."
Atoning for this organizational chaos was the perfect mesh of the partners' intellects into an all-purpose scientific think tank.
Says Frederick Romberg, Arnold's son: "Their relationship was a remarkable thing. They just hit it off from an intellectual and scientific standpoint." Frederick Romberg worked for the firm from 1941-51 and was the first person taught to build the meter. "They were a matched pair like Gilbert and Sullivan. Neither of them would do as well separately, but when they got together things happened.
"They'd talk over problems and try to figure out experiments to test their theories. It was the best sort of applied physics, the use of knowledge to arrive at technological solutions. Lucien was, and is, very innovative. He's a genius. In general he would propose something, and my father would make it work. But that wasn't always the case. Sometimes it went the other way. So it wasn't exactly like Gilbert and Sullivan where there was a strict division between who wrote the words and music. It was more complicated than that. You can't really describe it. You can just observe the results."
The remaining Pre-World War II years were hectic times at LaCoste and Romberg. The founders worked long days in an attempt to satisfy a long waiting list and keep those meters already in the field in operating condition. They didn't mind; both still felt the high demand was only temporary and this their one opportunity to outgross modest academic wages.
An unalterable fact of gravimeter life dictated the work schedule. LaCoste sums it up with the observation that gravimeters aren't built, they're rebuilt.
"It doesn't seem to matter how careful you are. The first time you try one, after you've just put it together, it never seems to work. You start adjusting and keep adjusting until it does," he says.
LaCoste, in consequence, began working nights assembling the meters. Romberg, whom LaCoste also describes as "being able to make things work that people didn't think could," would do the inevitable tinkering during the day.
"That was the easy part," says son, Frederick Romberg. "It's one thing to make a gravimeter that works in the lab. To make one that works in the field for months at a time is completely different. We had to adjust those early ones pretty often."
The kinks were worked out just about the time the US entered WWII. LaCoste and Romberg were both summoned to help on a military research project to develop a flight simulator to evaluate an aircraft's defensive armaments. They were away from the business for three years but the project's headquarters was in Austin, so both were available for consultation with Frederick who ran the company in the interim.
(The wartime work was an intricate technological challenge involving optical images to simulate fighter attacks. LaCoste was the director. Romberg joined the team about a month later. The working group eventually included virtually all the faculty of Texas's physics department, several from other departments, and three professors from other universities. The intricate mathematics, of course, had to be done without computer aid. The precision needed for certain parts exceeded the standards of the time and new methods had to be conceived, and occasionally built by the staff, to achieve it. When government red tape could not be circumvented, pinball machines were cannibalized for badly needed resistors. The ending was happy. A machine was made in time to help the war effort. The design proved so advanced that it remained in use for more than a decade.)
After the war, LaCoste and Romberg were able to devote most of their time to research, the first love of both. The business was now solidly established and the land meter pretty well debugged. They, therefore, turned their attention to the next frontier in gravity exploration, the sea floor.
They had made an unsuccessful underwater meter before 1941 and were making no progress in their initial postwar work until LaCoste had the breakthrough realization that the sea bottom is not a stable surface; it undergoes considerable vertical movement because of seismicity. This was particularly acute at shallow depths, the ones most interesting to explorationists.
His solution was to house the sensing parts of the meter in an "elevator," which kept them relatively stable while the watertight covering was being shifted up and down. Despite its Rube Goldberg-sounding intricacy, in a few months this concept was transformed into a working technology. The firm put underwater meters on the market in 1946. They were a principal exploration tool for a generation before becoming obsolete, except for a few specialized uses in very shallow water, because of LaCoste's next, and perhaps most scientifically dazzling contribution, the shipboard meter. (When underwater meters are used today, they are always LaCoste and Romberg products.)
Pioneer gravity exploration theorist Lewis Nettleton describes the challenge of shipboard gravity in Elementary Gravity and Magnetics for Geologists and Seismologists, Volume I of SEG's Monograph Series:
"The problem of making gravity observations on a moving ship is primarily one of observing a very small quantity (the desired gravity variation), within an extremely 'noisy' environment (the motional accelerations due to movement of the ship). There is no physical principle by which motional accelerations can be distinguished from gravitational accelerations. The horizontal and vertical accelerations due to the movement of the ship, even in rather moderate sea conditions, can be a tenth or more of total gravity. This means that, to make a measurement comparable to that made with land gravity meters, we must detect changes on the order of one milligal or less within a background noise on the order of one hundred thousand milligals."
These figures were so daunting that two of the world's most eminent gravity specialists, W. A. Heiskanen and F. A. Vening Meinesz, all but wrote off the possibility, i.e., ... "the use of high-precision gravimeters in aircraft, and perhaps in surface boats, is unlikely" (from their 1958 book, The Earth and Its Gravity Field.)
Their prediction violated the famous "law" of noted science fictioneer Arthur C. Clarke –that is, when distinguished, elderly scientists say that something is impossible, they are almost certainly wrong.
This was a classic example. LaCoste, after almost a decade of research, was about to begin publishing his conclusions. His first paper appeared in 1959. A year later he received his first good patent. In 1961, a LaCoste and Romberg gimbal-supported shipboard meter was used in oil exploration.
Although LaCoste and his research associates thought this was the most attractive approach theoretically, rough seas severely hampered its operation and made the stabilized platform meter more practical.
Askania, a rival firm, had been developing such a system for several years but had not been able to achieve a level of accuracy useful to explorationists. LaCoste's stabilized platform meter was ready for rigorous tests in 1965. It included a computer, of LaCoste's own design, to calculate cross-coupling, the effects of other accelerations on gravity measurement. LaCoste is frequently credited with coining the term, but he says he borrowed it from "the people who made gyroscopes."
In November, the LaCoste and Romberg stabilized platform system made gravity measurements over the San Luis Pass salt dome about seven miles off the Texas coast, mid-way between Galveston and Freeport. The data were compared with that of a detailed, very accurate underwater survey which had been done in 1955. The comparison established that the LaCoste and Romberg shipboard meter would detect relative gravity effects on the order of one milligal. In addition, it performed well even under rough sea conditions. A gimbal-supported meter, being tested simultaneously, failed to function about 20% of the time.
These results were immediately acclaimed as a significant advance in gravity instrumentation. The new meter greatly increased the amount of available gravity data because it made gravity operations compatible with offshore seismic work. It soon became standard practice for the two data-gathering operations to be done simultaneously. LaCoste and Romberg has dominated this field during its two-decade history, making well over 100 of the approximately 130 instruments in use.
Even before completing this extraordinary feat, LaCoste had undertaken another formidable challenge, developing a borehole instrument. The value of such a tool had been obvious for some time. In 1950, Neal Smith published The Case for Gravity Data From Boreholes in Geophysics, detailing many potential uses - helping to establish seismic velocities, reflection coefficients, electrical resistivity and porosities of various layers. However, the difficulties in design were equally apparent. Most forbidding was the increasing heat at depth. Gravity meters are extremely sensitive to temperature and a borehole meter would have to function in very hot conditions.
In the early 1960s, Thane McCullough of the US Geological Survey convinced LaCoste to undertake the research. LaCoste was advised by some associates that the temperature problem was too formidable because of the very small area available for insulation, but he continued his research and had an instrument ready for field tests in the mid-1960s. His early models worked so well that, in 1967, when he was told that he had been chosen to receive the Kauffman Medal, he did not know initially if the award was for shipboard or borehole meters.
Early in the next decade, the borehole meter was credited with significant oil and gas discoveries. The instrument was then redesigned to reduce its diameter and increase its temperature limit. The resulting "slimhole" tool, which reached the market in 1978, was one of LaCoste's most impressive technological achievements. The new tool was considerably smaller than its predecessor yet even more accurate.
As Smith had forecast, borehole meters have proved valuable in areas like formation and porosity evaluation and in enhancing seismic data. There is even the possibility, although it now looks unlikely, that the borehole meter can attain the oil hunter's fondest dream–direct detection of hydrocarbons. Borehole data, the difference in gravity at different layers, can be interpreted to determine differences in density which can lead to a determination that a layer is filled with water, oil or gas. However, the differences between water and oil are so small that direct detection of the latter by this method is now considered improbable. There are, though, occasions when the porosity change between gas and water is substantial, and then the borehole meter can directly detect gas.
LaCoste's most recent invention, introduced in 1983, is a "straight line" shipboard meter in which the moving element path is a straight line rather than an arc. It is only marginally more accurate than other systems, but it is free of the effects of cross coupling between the various accelerations, is easier to build and adjust, and less sensitive to rough handling.
Other contributions could follow. Association with gravity exploration seems to assure a very long, active professional life. Lewis Nettleton and fellow pioneer theorist Sigmund Hammer have been in the exploration vanguard since the 1920s; Sam Worden, inventor of another famous land gravity meter, almost as long. Romberg lived to 92 and came to the office daily until his late 80s.
LaCoste, at a mere 77, seems almost youthful and his interest is undiminished. He still serves as president and chief trouble shooter of LaCoste and Romberg. He claims the research is as much fun as ever, that his brain is "lousy" with ideas he hopes someone will ask him to try, and that he wants to keep going as long as he can.
With that attitude and energy as parameters, it's likely that exploration will benefit further from a career that already is perhaps without parallel in any scientific discipline. LaCoste has made a major contribution, often the major contribution, to his field in six consecutive decades.
It is impossible to imagine exploration without his presence, yet that came disturbingly close to happening. LaCoste's entire career might have hinged on that unplayed tennis match in 1932. If his opponent had showed, would he have invented the zero-length spring or would that fertile mind have been diverted to another, unrelated-to-exploration challenge?
Lucien LaCoste is buried in Oakwood Cemetery in Austin, Texas.
Bob McClure created article below, which is an excerpt from the a PDF file on how LaCoste and Romberg made their zero length tension springs.
The original document is: http://www.gravitymeter-repair.com/images/gdmanual.pdf the LaCoste and Romberg Instruction Manual for the model G & D Gravity Meters. The idea of winding a spring and turning it "inside out" to make it a negative length spring was intriguing to Bob and is also to me!
Readers my find the patent application article helpful. It is:
Lacoste-Romberg detailed patent application for seismograph.
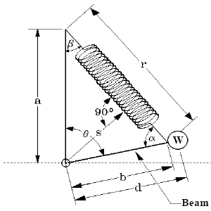
PHYSICS OF THE GRAVITY SENSOR
In the early days of earthquake seismology, long period horizontal motions could be measured with the horizontal pendulum seismograph. As the axis of rotation became closer to vertical, the period became longer. Theoretically, if the axis is vertical, the period is infinite.
Dr. Romberg posed the question to his student, Lucien LaCoste, how to design a vertical seismograph with the characteristics as good as the existing horizontal pendulum seismograph.
In the illustrated suspension, there are two torques: gravitational and spring. If these two torques balance each other for any angle of the beam, the system will have infinite period. The smallest change in vertical acceleration (or gravity) will cause a large movement.

The torque due to gravity is:
![]()
Where W is the mass and d is the distance from the mass to the beam’s hinge.
The torque due to the spring is the product of the pull of the spring and the springs lever arm, s.
![]()
The length of the spring is r and by the law of sines:
If the spring constant is k and the length of the spring without force is n, the spring force is illustrated by this graph.

The torque due to the spring is then:

The total torque is:

This equation would yield zero torque and would be satisfied for all angles of theta if:
n = 0 and Wd - kab = 0
For n to equal zero, we must have a “zero length spring.” That is, a spring whose force-length graph passes through the origin or, at least, points toward the origin. The turns of a helical spring of zero unstressed length would bump into each other before the spring actually reached zero length. By making a helical spring whose turns press against each other when there is no force on the spring, a “zero length spring” can be made.

ZERO LENGTH SPRING
There are several ways to make a zero length spring. A simple zero-length spring is a flat spiral spring. The mechanical properties of a spiral spring are not as convenient as a helical spring. To make a zero-length helical spring, the spring wire can be wound onto a mandrel. As the wire is wound, it can be twisted.
Another method (above) is to hold the wire at an angle and with tension while winding it on a rotating mandrel.
Still another method (above) is to “turn the spring inside out”.
The actual spring used in the L and R meters are “negative-length”. The spring wire is large enough and stiff enough that the spring would not act like an ideal spring if the spring were to be clamped at both ends. Thus, a very fine but strong wire is attached to the top end of the spring and another to the bottom of the spring. The top wire is clamped to the lever system and the bottom wire is clamped to the beam. The effective length of the spring is the combined length of the helical spring and the two fine wires. That combination is “zero-length”. The helical spring by itself is “negative-length”.
Another article providing explanation for the Lacoste-Romberg gravimeter.





Lucien Jean Batiste LaCoste Photo Album |
|
|---|---|
|
|
|
|
Second from left end, second row from bottom 1929 Cactus, UT Yearbook |
|
|
|
|
|
|
|
|
|
|
|
|
|
|
|
Name: Gravity meter model No. 70 is one of the last of the old-style (25-lb) LaCoste & Romberg meters built. The 25-lb instrument was manufactured by LaCoste & Romberg between 1941 and 1957. It had a range of 200 mGals and about 80 were sold. A few of these are still in service today. This model was superseded by the Model G meters (Item No 87.05.02). How does it work? Gravity was measured using a lever-arm system that balanced a mass at the end of a zero-length spring. An optical system (the eyepiece is the tube at the top of the box) was used to observe the position of the mass relative to a reading line. The mass (beam) was moved to the reading line by means of a screw connected to the big dial at the top. Gravity was read directly from the dial by using a dual-dial and vernier system. The three black knobs at the top are used to level the instrument. A light inside the case illuminated the beam. In addition, the sensor was heated to a constant temperature. This required a large lead-acid automotive battery to provide the power during field operations. One advantage of the 25-lb gravity meter was that it was relatively light compared with other gravity meters available at the time and only required a two man crew to operate it in the field. Smaller crews moved faster and could collect more gravity data. At 0.01 mGal accuracy, the 25-lb LaCoste & Romberg gravity meter was the most accurate gravity meter of its era. The 25-lb meter was used extensively in the Gulf coast for oil exploration. This type of meter was noted for finding a number of salt domes in Mississippi and Alabama, many of which had large petroleum reservoirs associated with them. For more information, see the article: Gravity instruments: Past, present, future, The Leading Edge, January 1998, p. 100-112. |
Photographed at ZLS, 1994 |
|
Society of Exploration Geophysicist, 28th Meeting, San Antonio, TX, Oct 13-16, 1958 |
|
Article written by Lucien J. B. LaCoste for University of Texas Discovery Magazine. Discovery Magazine, |
|
|
|
|
|
|
|
Engineers and Technical Staff at Lacoste-Romberg Company |
|
|---|---|
Hamilton Blair “Yogi” Parks IV was born October 25, 1911 in Belton, Texas. to James Washington Parks (1880-1962) and Lee M. Blair (1886-1973). James worked as watchmaker in Austin. Hamilton attended North Dallas High School. graduating in 1929, senior photo above. Fourtth from left, top row. |
|
Club photo, 1929. |
|
Hamilton Parks, SMU 1934 |
|
In 1931, Hamilton married Lena Mae "Maggie" Swanson (October 23, 1916- April 27, 2006). They had a daughter, Sarah (Coffey). They moved to Austin in 1948 to work for the State Land Office. Hamilton joined the Lacoste and Romberg Company in 1951-52. He worked for the company for 38 years. One of his papers with Lacoste and others is highly cited. The paper was a major study of the performance of the Lacoste-Romberg Gravimeter in a borehole, “The U. S. Geological Survery-Lacoste and Romberg Precise Borehold Gavimeter System-Test Results” by T. H. McCulloh, J. E. Schoellhamer, E. H. Pampeyan, and H. B. Parks. Parks research was often acknowledged by Lacoste and others in their scientific papers. Here and below are some photos of Parks while at Lacoste and Romberg Company generously shared by his daughter Sarah Coffey. It is clear he enjoyed his work. |
|
Hamilton Parks |
|
|
|
Lena Mae Parks' obituary includes the following, “Lena Mae Swanson was born in Beeville, Texas. She lived in Austin from 1949 to 2005. She was an active member of First Methodist Church for 60 years, St. David's Auxiliary, and Austin Woman's Club. She had many friends and loved her bridge and card games. She will be greatly missed by all who knew her. Lena Mae was preceded in death by her husband in 1988. She is survived by her daughter and son-in-law Sarah and Robert Coffey, grandsons Jeff Coffey and Gregg Coffey and two great grandchildren. Lena Mae Parks died on April 27, 2006 in Austin. Hamilton Blair Parks IV died March 31, 1988 and is buried along side Lena Mae in Austin Memorial Park Cemetery. Many thanks to Sarah Parks Coffey for sharing information and pictures. |